1、该产品是改性PVC高回弹塑料经过密炼、造粒、软件与硬条一次挤压成型等工艺制作而成,因此软封与硬条不会产生脱离现象。 2、由于它不同于传统的橡胶封条,故存放方便,按装简单快捷,减少了劳动强度,加快了工程进度,可降低施工费用。 3、该产品外形美观,使用后提高箱式汽车的产品档次,使其更具有市场竞争力。作为专业集装箱密封条的生产企业,先后研制出了适用于各种厢式车集装箱封条,产品美观大方,安装方便,密封性能好,使用寿命长,是提高货车档次的新颖产品,多年来一直外销欧美、东欧、日本等国际市场,品种齐全,质量保证,服务周到,欢迎选购。
注:1.本公司所有产品的具体颜色均可以根据客户要求订制。 2.产品的规格以及包装要求均可以根据客户要求进行订制。
作为专业厢式货车集装箱封条的生产企业,新星先后研制出了适用于各种厢式火车集装箱封条,产品美观大方,安装方便,密封性能好,使用寿命长,是提高货车档次的新颖产品,多年来一直外销欧美、东欧、日本等国际市场,品种齐全,质量保证,服务周到,欢迎选购。
产品特点: 1.该产品是进口橡胶(EPDM)为原料进高温硫化挤压成型等工艺制作而成因此产品在使用寿命耐高低温和使用成本上大大优于其他材质密封条。 2.由于它不同于传统的橡胶封条,故存放方便,按装简单快捷,减少了劳动强度,加快了工程进度,可降低施工费用。 3.该产品外形美观,使用后提高箱式汽车的产品档次,使其更具有市场竞争力。
| 部分产品断面示意图 |
型号
|
名称 |
规格 |
断面示意图 |
|
型号
|
名称 |
规格 |
断面示意图 |
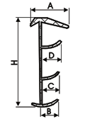
| WXQCLC-1 |
冷藏汽车门封条
|
A×B×C×H 49×21×29×48 48×24×26×46 |
 |
|
WXQCLC-2 |
冷藏汽车门封条
|
A×B×C×H 50×24×25×80 |
 |
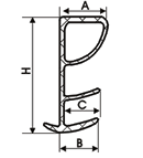
| WXQCLC-3 |
冷藏汽车门封条
|
A×B×C×D×E×H 50×20×21×22 ×24×111 |
 |
|
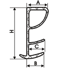
WXQCLC-4 |
冷藏汽车门封条
|
A×B×C×D×H 50×20×21 ×22×82 |
 |
| WXQCLC-5 |
冷藏汽车门封条
|
A×B×C×H 50×20×21×62 |
 |
|
WXQCLC-6 |
冷藏汽车门封条
|
A×B×H 50×20×51 |
 |
| WXQCLC-7 |
冷藏汽车门封条
|
A×B×C×D×H 50×20×22 ×24×111 |
 |
|
WXQCLC-8 |
冷藏汽车门封条
|
A×B×C×D×H 50×20×22 ×24×111 |
 |
| WXQCLC-9 |
冷藏汽车门封条
|
A×B×C×H 50×20×22×62 |
 |
|
WXQCLC-10 |
冷藏汽车门封条
|
A×B×H 48×22×52 48×22×30 |
 |
| WXQCLC-11 |
冷藏汽车门封条
|
A×B×C×D×H 48×26×30×26×90 |
 |
|
WXQCLC-12 |
冷藏汽车门封条
|
A×B×H 48×26×41 48×26×36 |
 |
| WXQCLC-13 |
冷藏汽车门封条
|
A×B×C×H 30×20×22×98 |
 |
|
WXQCLC-14 |
冷藏汽车门封条
|
A×B×H 43.8×13.5×40.5 43.8×13.5×29.5 |
 |
| WXQCLC-15 |
冷藏汽车门封条
|
A×B×C×H 28×26×36×26 |
 |
|
WXQCLC-16 |
冷藏汽车门封条
|
A×B×C×H 28×26×38.5×26 |
 |
| WXQCLC-17 |
冷藏汽车门封条
|
A×B×H 26×27.4×22 |
 |
|
WXQCLC-18 |
冷藏汽车门封条
|
A×B×H 21×30×26 |
 |
| WXQCLC-19 |
冷藏汽车门封条
|
A×B×C×H 9×26×29×26 9×26×29×19 |
 |
|
WXQCLC-20 |
冷藏汽车门封条
|
A×B×H 26.6×29.7×40 26.6×29.7×30 |
 |
|